Pelan Lantai Kelas

Juwariah Ibrahim menerbitkan PELAN LANTAI KELAS PENGURUSAN SEKOLAH PASCAPERINTAH KAWALAN PERGERAKAN PENULARAN JANGKITAN COVID-19 pada 2020-06. Darwis angka giliran.


Pelan Lantai Prasekolah

Pelan lantai luar kelas prasekolah juga perlu di sediakan bagi reka letak alatan permainan untuk taman permainan kanak-kanak.

. Pelajar 19 orang 16 9 8 1min. Plan lantai kelas tadika inspira. Baca versi flipbook dari PELAN PENYURAIAN LANTAI KELAS 30.

Muat turun halaman 1. PELAN LANTAI KELAS BILIK KULIAH Blok. Bagi sekolah yang belum mempunyai kelas prasekolah guru yang bertanggungjawab perlu membuat beberapa persediaan sebelum menubuhkan.

Psvk 3033 afham izzuddin psv1 pelan lantai kelas seni. Afham izzuddin bin md. Portfolio pelan lantai bilik seni yang ideal nama pelajar.

View flipping ebook version of PELAN LANTAI KEDUDUKAN KELAS T1-4 PDPC PKPP 2020docx published by CikgoO Ziellahy on 2020-11-13. Pelan lantai senarai nama murid program pendidikan khas integrasi ppki sk seri kampung tengah kluang johor tingkap pelan lantai kelas 4 1 guru kelas. Untuk makluman semua setelah mengambil kira pandangan dan nasihat KKM dan MKN KPM telah.

SOP Pelan Lantai ini telah dipantau oleh pihak atasan sebelum ini. Pk zamrud 1 meter 1. Sekolah-9840 menerbitkan PELAN LANTAI BILIK DARJAH PENGGILIRAN pada 2021-10-29.

Garis panduan penubuhan tadika dan taska 2017 pelan lantai taska. Lambda KELAS 2 DMD Lokasi. 2020 Okt 26 - Explore Imran Kasyidis board Pelan lantai on Pinterest.

Masalah utama dalam penyediaan pelan lantai ini ialah saiz. Bilik BM 2 Bil. Up to 3 cash back Scribd is the worlds largest social reading and publishing site.

Pelan lantai taska grup madem intan 1. 1m MEJA P GURU A 17 1m P 15 10 A 72 N 18 14 11. Baca versi flipbook dari PELAN LANTAI BILIK DARJAH PENGGILIRAN.

See more ideas about pelan lantai pelan rumah pelan lantai rumah. Home view web version. Azwa2102 menerbitkan PELAN PENYURAIAN LANTAI KELAS 30 pada 2021-10-23.

Interested in flipbooks about. Plan lantai kelas tadika inspira permata persekitaran prasekolah yang selesa.


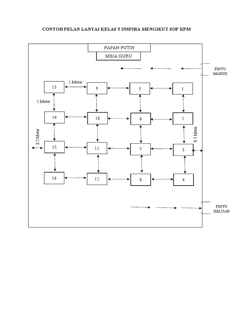
Contoh Pelan Lantai Kelas 5 Inspira Pdf


Pelan Lantai Kelas Pengurusan Sekolah Pascaperintah Kawalan Pergerakan Penularan Jangkitan Covid 19 Membalik Buku Halaman 1 9 Anyflip


Pelan Lantai Kelas Skmp 2020


Pelan Lantai Dalam Kelas

Post a Comment

0 Comments

Ad Code